SiliCloud在昨天正式上线了日本软银线路VPS,小编第一时间购买了一台进行测评,主机采用的是英特尔至强铂金 8259CL @ 2.50GHz,DDR4内存,性能看起来是差不了的,云服务器CVM会场更新的几款促销机型都是500Mbps带宽,但是在后台开通常规型号款可以选择1Gbps端口,价格不到5美元,性价比挺高。大家可能对搬瓦工日本大阪软银有不少了解,也就是DC6 CN2 GIA-E这款,可以在后台切换到软银线路,但是相对搬瓦工最低年付89.99美元或季付49.99美元的套餐,SiliCloud的价格要实惠不少,这个我们换个时间来横向对比一下,本文先分享一下测评数据。
日本云主机特惠
下表仅列出几款特惠云主机,更多请到官网查看。目前刚推出套餐,不排除配置会有变动可能,购买时请自行斟酌。
| CPU | 内存 | 存储 | 带宽 | IP | 价格 | 购买 |
| 1核 | 1 GB DDR4 | 20GB SSD | 500Mbps@500GB | 1 个 | $25.27 /年 | 直达 |
| 1核 | 2 GB DDR4 | 20GB SSD | 500Mbps@500GB | 1 个 | $28.7 /年 | 直达 |
| 2核 | 6 GB DDR4 | 30GB SSD | 500Mbps@500GB | 1 个 | $64.52 /年 | 直达 |
| 4核 | 8 GB DDR4 | 50GB SSD | 500Mbps@500GB | 1 个 | $126.87 /年 | 直达 |
日本软银线路VPS测评
站长全球PING测试:

ping.pe丢包率测试:

性能和带宽测试:
路由去程
电信:

移动:

联通:

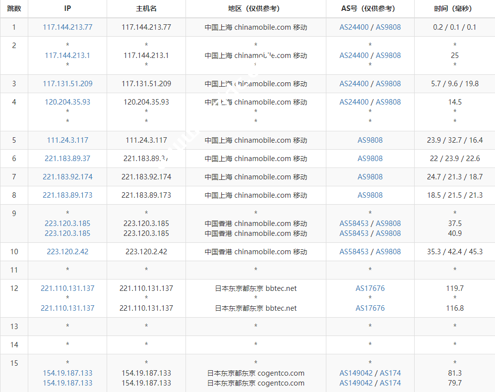
回程路由
Route-trace 四网路由快速测试:
[Info] 测试路由 到 上海电信(天翼云) 中 ... traceroute to 101.227.255.45 (101.227.255.45), 30 hops max, 32 byte packets 1 172.16.0.1 0.96 ms * LAN Address 2 154.19.187.1 7.05 ms AS149042 Japan, Tokyo, cogentco.com 3 10.0.1.9 0.51 ms * LAN Address 4 101.203.106.69 1.72 ms * Japan, bbix.net 5 * 6 * 7 * 8 * 9 * 10 * 11 * 12 * 13 61.152.25.149 59.92 ms AS4812 China, Shanghai, ChinaTelecom 14 101.95.207.2 59.45 ms AS4812 China, Shanghai, ChinaTelecom 15 * 16 * 17 * 18 * 19 * 20 * 21 * 22 * 23 * 24 * 25 * 26 * 27 * 28 * 29 * 30 * [Info] 测试路由 到 上海电信(天翼云) 完成 ! [Info] 测试路由 到 厦门电信CN2 中 ... traceroute to 117.28.254.129 (117.28.254.129), 30 hops max, 32 byte packets 1 172.16.0.1 0.69 ms * LAN Address 2 154.19.187.1 0.49 ms AS149042 Japan, Tokyo, cogentco.com 3 10.0.1.9 1.48 ms * LAN Address 4 101.203.106.69 2.17 ms * Japan, bbix.net 5 * 6 * 7 softbank221110131230.bbtec.net (221.110.131.230) 3.45 ms AS17676 Japan, Tokyo, bbtec.net 8 HundredGE0-5-0-0.br03.hkg15.pccwbtn.net (63.223.17.162) 48.16 ms AS3491,AS31713 China, Hong Kong, pccw.com 9 HundredGE0-5-0-0.br03.hkg15.pccwbtn.net (63.223.17.162) 48.10 ms AS3491,AS31713 China, Hong Kong, pccw.com 10 63.216.143.46 48.17 ms AS3491,AS31713 China, Hong Kong, pccw.com 11 59.43.187.177 51.15 ms * China, Guangdong, Guangzhou, ChinaTelecom 12 59.43.187.89 57.36 ms * China, Guangdong, Guangzhou, ChinaTelecom 13 59.43.16.181 55.86 ms * China, Guangdong, Guangzhou, ChinaTelecom 14 59.43.46.214 69.46 ms * China, Fujian, ChinaTelecom 15 * 16 27.159.81.194 69.06 ms AS133775 China, Fujian, Xiamen, ChinaTelecom 17 * 18 * 19 117.28.254.129 80.41 ms AS4809 China, Fujian, Xiamen, ChinaTelecom [Info] 测试路由 到 厦门电信CN2 完成 ! [Info] 测试路由 到 浙江杭州联通 中 ... traceroute to 101.71.241.238 (101.71.241.238), 30 hops max, 32 byte packets 1 172.16.0.1 2.10 ms * LAN Address 2 154.19.187.1 0.50 ms AS149042 Japan, Tokyo, cogentco.com 3 10.0.1.9 1.08 ms * LAN Address 4 101.203.106.69 2.12 ms * Japan, bbix.net 5 * 6 * 7 * 8 * 9 softbank221111202010.bbtec.net (221.111.202.10) 37.02 ms AS17676 China, Shanghai, bbtec.net 10 219.158.113.138 41.32 ms AS4837 China, Shanghai, ChinaUnicom 11 219.158.113.105 36.21 ms AS4837 China, Shanghai, ChinaUnicom 12 219.158.106.94 46.34 ms AS4837 China, Zhejiang, Hangzhou, ChinaUnicom 13 * 14 * 15 * 16 * 17 * 18 * 19 * 20 * 21 * 22 * 23 * 24 * 25 * 26 * 27 * 28 * 29 * 30 * [Info] 测试路由 到 浙江杭州联通 完成 ! [Info] 测试路由 到 浙江杭州移动 中 ... traceroute to 112.17.0.106 (112.17.0.106), 30 hops max, 32 byte packets 1 172.16.0.1 0.98 ms * LAN Address 2 154.19.187.1 0.79 ms AS149042 Japan, Tokyo, cogentco.com 3 10.0.1.9 0.84 ms * LAN Address 4 101.203.106.69 1.86 ms * Japan, bbix.net 5 * 6 * 7 softbank221111202238.bbtec.net (221.111.202.238) 2.80 ms AS17676 Japan, Tokyo, bbtec.net 8 223.120.22.53 55.92 ms AS58453 China, Shanghai, ChinaMobile 9 221.183.89.174 57.30 ms AS9808 China, Shanghai, ChinaMobile 10 221.183.92.173 57.64 ms AS9808 China, Shanghai, ChinaMobile 11 221.183.89.50 58.53 ms AS9808 China, Shanghai, ChinaMobile 12 221.183.40.150 63.08 ms AS9808 China, Zhejiang, Hangzhou, ChinaMobile 13 * 14 * 15 * 16 * 17 * 18 * 19 * 20 * 21 * 22 * 23 * 24 * 25 * 26 * 27 * 28 * 29 * 30 * [Info] 测试路由 到 浙江杭州移动 完成 ! [Info] 测试路由 到 北京教育网 中 ... traceroute to 202.205.6.30 (202.205.6.30), 30 hops max, 32 byte packets 1 172.16.0.1 0.74 ms * LAN Address 2 154.19.187.1 0.48 ms AS149042 Japan, Tokyo, cogentco.com 3 10.0.1.9 1.30 ms * LAN Address 4 101.203.106.69 1.48 ms * Japan, bbix.net 5 * 6 * 7 * 8 HundredGE0-0-0-1.clbr02.hkg04.pccwbtn.net (63.223.17.242) 50.84 ms AS3491,AS31713 China, Hong Kong, pccw.com 9 tsingHua.hu0-0-0-9.clbr02.hkg04.pccwbtn.net (63.218.115.14) 152.34 ms AS3491,AS31713 China, Hong Kong, pccw.com 10 101.4.114.181 191.09 ms AS4538 China, Beijing, CHINAEDU 11 * 12 * 13 101.4.118.213 190.82 ms AS4538 China, Beijing, CHINAEDU 14 * 15 219.224.102.230 191.99 ms AS4538 China, Beijing, CHINAEDU 16 * 17 * 18 * 19 * 20 * 21 101.4.130.53 187.65 ms AS4538 China, Beijing, CHINAEDU 22 * 23 * 24 * 25 * 26 * 27 * 28 * 29 * 30 * [Info] 测试路由 到 北京教育网 完成 ! [Info] 四网路由快速测试 已完成 !
一键检测VPS回程国内三网路由

流媒体平台及游戏区域限制测试

TikTok检测

网络测试
- 洛杉矶国际:https://lg-global-west01-us.silicloud.com/
- 洛杉矶GIA混合:https://lg-cn2mixed-west01-us.silicloud.com/
- 日本软银:154.19.187.1




















