荫云yinnet最近上线了韩国双ISP家宽住宅IP产品,使用优惠码仅需$9.6/月,他家更有香港HKT产品,1G独享仅需$150/月,对海外电商IP有极高要求的可以去看一下,下面是荫云yinnet韩国双ISP的详细测评

8折优惠码:yinnet
| 内存 | CPU | 带宽 | 硬盘 | 流量 | 价格 | 购买 |
| 1G | 1核 | 100M | 10G | 1T/月 | $12/月 | 链接 |
| 2G | 2核 | 200M | 20G | 2T/月 | $16/月 | 链接 |
| 4G | 4核 | 300M | 50G | 3T/月 | $25/月 | 链接 |
| 8G | 8核 | 500M | 100G | 5T/月 | $40/月 | 链接 |
下面就给大家带来详细测评
性能测试
可以看到CPU使用的是 2686V4 基本频率为2.3

通过fio测试如下图

geekbench 5跑分如下图

CPU、内存、磁盘等测试数据

流媒体解锁测试

IP质量测试(为ISP的IP)

网络测试
ping值测试

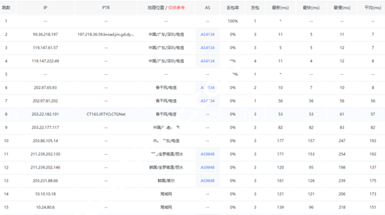
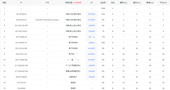
电信去程测试

联通去程

移动去程测试

线路回程测试

节点测速测速

IP质量


对于IP要求较高的可以看一下,线路对联通移动比较友好。





















