Jtti是一家正规专业的新加坡服务商,具备相应的营业资质,拥有bizfile证书,ACRA证书,主要经营新加坡/中国香港/美国的云服务器,物理服务器。拥有专业的技术团队,资深精英人才常驻,行业经验丰富,机房拥有CN2 GIA+BGP线路,线路稳定,速度快,适合海内外用户使用。
本次Jtti推出云服务器全场特惠活动,全线产品月付5折/年付2折,续费同价,堪称史上最低优惠,支持PayPal、USDT、支付宝微信、oxpay等付款方式,需求云服务器的用户千万不要错过!
官方网站

Jtti云服务器活动套餐
以下是几款比较热门的配置,默认CN2带宽,均支持Linux和Windows操作系统,更多配置可到官网了解。
| 参数项 | 套餐1 | 套餐2 | 套餐3 | 套餐4 | 套餐5 |
| CPU内核 | 1核 | 2核 | 4核 | 1核 | 2核 |
| 内存 | 1 G | 4 G | 8 G | 1 G | 2 G |
| 硬盘 | 50G | 50G | 50G | 50G | 50G |
| 带宽 | 2M | 5M | 5M | 5M | 2M |
| 流量 | 无限 | 无限 | 无限 | 无限 | 无限 |
| 地域 | 中国香港 | 中国香港 | 中国香港 | 美国 | 新加坡 |
| 价格(月付) | $8.31/月 | $24.46月 | $37.54/月 | $6.15/月 | $12.69/月 |
| 价格(年付) | $33.23/年 | $97.85/年 | $150.15/年 | $24.62/年 | $50.77/年 |
| 购买链接 | 立即购买 | 立即购买 | 立即购买 | 立即购买 | 立即购买 |
网络测试
- 中国香港测试IP: 38.47.220.254
- 新加坡测试IP: 38.47.226.254
- 美国测试IP: 38.47.238.254
下面是Jtti香港云服务器测评情况,配置2核4G 5M CN2
先看看本地ping的延迟效果,如下所示:

可以看到本地Ping的平均延迟在43ms,这个延迟对于香港云服务器来说还是相当不错的,并且网络非常的稳定,基本没有丢包的情况。
我们再看看全国电信、联通、移动三网的延迟情况,如下所示∶

可以看到全国三网Ping的平均延迟在42ms左右,其中电信网络延迟42ms左右,联通网络延迟38ms左右,移动网络延迟51ms左右。
下面我们再看看全球各节点网络稳定性,如下所示︰

可以看到全球各地网络稳定性还是相当不错的,基本都没有丢包的情况,而且可以看到亚洲地区网络延迟都非常的低。
下面看看Jtti香港云服务器的三网去程路由线路情况。
电信去程路由∶

电信去程路由是从上海网口出去,然后直连香港机房,并且走的是59.43的CN2线路。
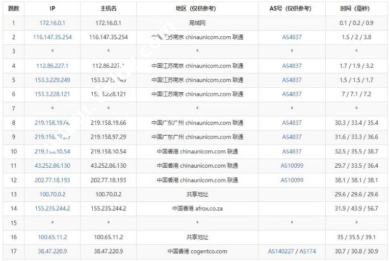
联通去程路由∶

联通去程路由是从广州网口出去,然后直连香港机房,走的是AS4837线路。
移动去程路由∶

移动去程路由是从广州网口出去,然后直连香港机房,走的是移动CMI线路。
我们再来看看三网回程路由线路情况。
电信回程路由∶

电信回程路由是从直连回到国内网口,并且走的是59.43的CN2线路。所以电信网络走的是双向CN2线路。
联通回程路由∶

联通回程路由是从香港直连回到国内网口,走的AS4837线路。
移动回程路由︰

移动回程路由是直连国内网络,走的是CMI线路。
所以总结下三网的去程和回程路由︰电信双向CN2、联通双向AS4837、移动双向CMI。
下面我们看下Jtti这款香港云服务器的性能和速度怎么样,如下所示∶

可以看到服务器使用的是英特尔E5-2680 V3的处理器,主频是2.5GHz,磁盘IIO在159MB/秒,这个性能还是相当不错的。
我这款测试机使用的是5Mbps的带宽,所以可以看到全球各地上传和下载速度基本都跑满了5Mbps.
以上就是关于.Jtti的香港云服务器相关测评介绍。从延迟、稳定性、线路各个方面来说Jtti的这款香港云服务器还是相当不错的,非常适合我们大陆地区用户使用,有需要香港云服务器的用户可以参考选择。




















