国外主机测评多次介绍并测评了DigitalVirt家的洛杉矶9929线路VPS,详情可以查看:DigitalVirt:美国洛杉矶 9929 VPS怎么样?国内延迟、丢包率、性能和带宽、路由去回程、流媒体和TikTok检测,DigitalVirt是一家国人新商家,目前主要经营美国洛杉矶 9929线路VPS、洛杉矶QN机房VPS、香港VPS,洛杉矶 4837是上个月新上线的VPS,三网去程骨干直连、回程三网联通AS4837优化线路,本文我们就来测评分享一下洛杉矶 4837 VPS具体测试结果,测试机型为Z2-2C2G。
洛杉矶 4837
下表仅列出部分型号,更多请到官网查看。注:三网去程骨干直连、回程三网联通AS4837优化线路 ,禁止长期占用带宽。下表红色价格这款为本次测试机器。
| CPU | 内存 | 存储 | IP | 带宽 | 价格 | 购买 |
| 1核 | 1 GB | 20 GB SSD | 1个 | 200Mbps@1000G | 19元 /月 | 直达 |
| 2核 | 2 GB | 50 GB SSD | 1个 | 300Mbps@2000G | 39元 /月 | 直达 |
| 4核 | 4GB | 80 GB SSD | 1个 | 400Mbps@3000G | 59元 /月 | 直达 |
| 8核 | 8 GB | 100 GB SSD | 1个 | 500Mbps@5000G | 99元 /月 | 直达 |
洛杉矶 4837 VPS测评
站长全球PING

ping.pe丢包率测试:

性能和带宽测试:
国内测速

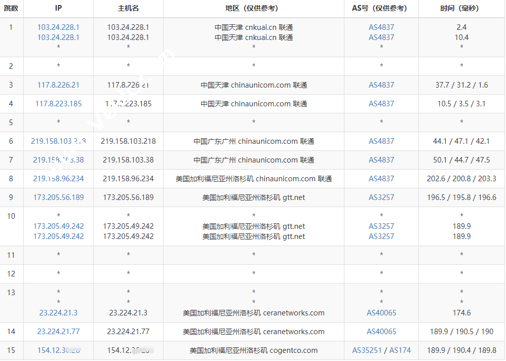
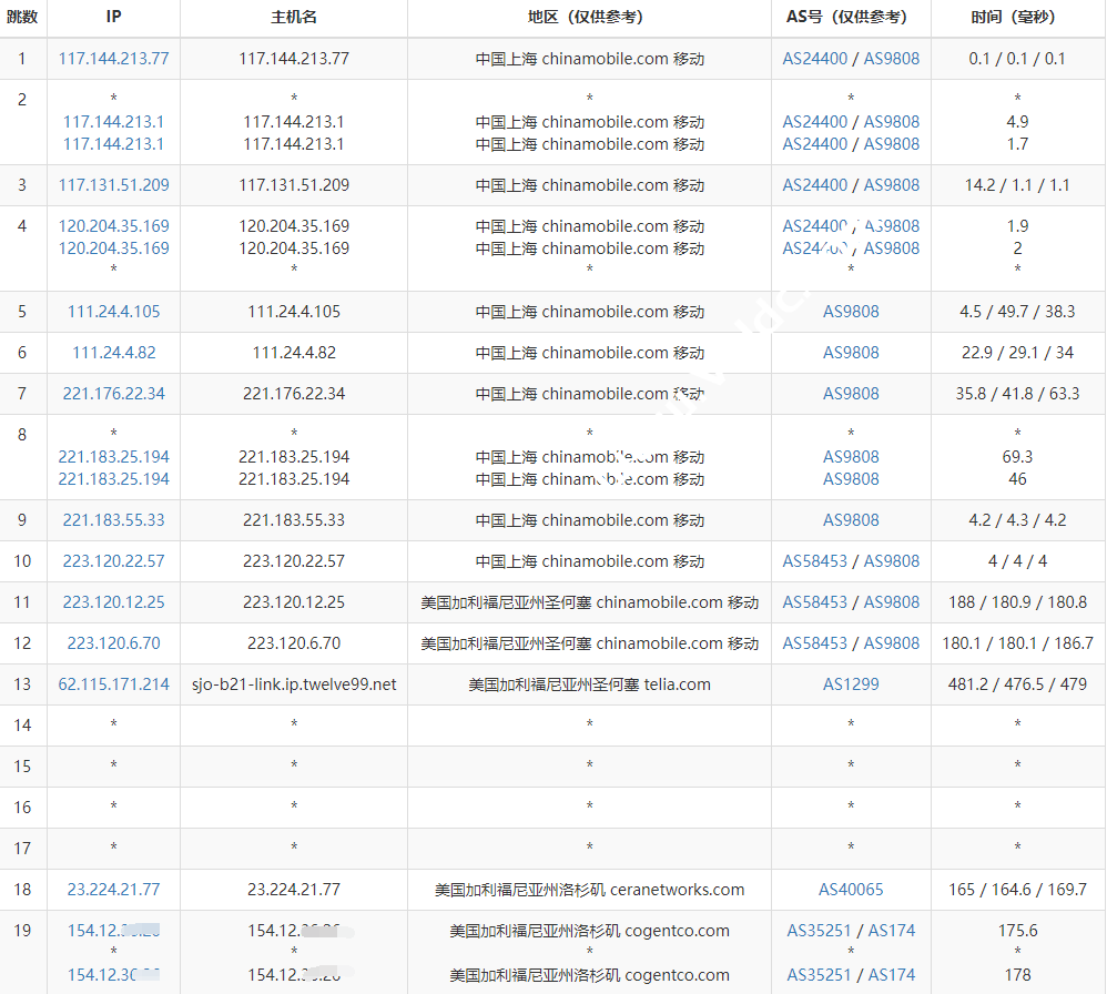
路由去程
江苏电信:

浙江电信:

天津联通:

上海移动:

回程路由
Route-trace 四网路由快速测试:
[Info] 测试路由 到 上海电信(天翼云) 中 ... traceroute to 101.227.255.45 (101.227.255.45), 30 hops max, 32 byte packets 1 _gateway (10.0.62.1) 1.00 ms * LAN Address 2 154.12.36.254 1.53 ms AS35251 United States, California, Los Angeles, cogentco.com 3 23.224.21.76 0.83 ms AS40065 United States, California, Los Angeles, ceranetworks.com 4 * 5 192.168.101.62 1.15 ms * LAN Address 6 * 7 23.225.225.65 14.04 ms AS40065 United States, California, Los Angeles, ceranetworks.com 8 219.158.116.237 171.74 ms AS4837 China, Shanghai, ChinaUnicom 9 219.158.113.134 176.44 ms AS4837 China, Shanghai, ChinaUnicom 10 219.158.113.101 169.74 ms AS4837 China, Shanghai, ChinaUnicom 11 * 12 202.97.81.45 142.94 ms AS4134 China, Shanghai, ChinaTelecom 13 * 14 61.152.25.121 146.14 ms AS4812 China, Shanghai, ChinaTelecom 15 * 16 * 17 * 18 * 19 * 20 * 21 * 22 * 23 * 24 * 25 * 26 * 27 * 28 * 29 * 30 * [Info] 测试路由 到 上海电信(天翼云) 完成 ! [Info] 测试路由 到 厦门电信CN2 中 ... traceroute to 117.28.254.129 (117.28.254.129), 30 hops max, 32 byte packets 1 _gateway (10.0.62.1) 0.34 ms * LAN Address 2 154.12.36.254 1.58 ms AS35251 United States, California, Los Angeles, cogentco.com 3 23.224.21.76 1.26 ms AS40065 United States, California, Los Angeles, ceranetworks.com 4 * 5 * 6 * 7 23.225.225.65 16.05 ms AS40065 United States, California, Los Angeles, ceranetworks.com 8 219.158.97.177 183.35 ms AS4837 China, Shanghai, ChinaUnicom 9 219.158.113.118 179.94 ms AS4837 China, Shanghai, ChinaUnicom 10 219.158.113.101 179.11 ms AS4837 China, Shanghai, ChinaUnicom 11 * 12 * 13 59.43.17.205 158.23 ms * China, Shanghai, ChinaTelecom 14 59.43.138.186 182.02 ms * China, Fujian, ChinaTelecom 15 110.80.128.86 198.40 ms AS133775 China, Fujian, Xiamen, ChinaTelecom 16 27.159.81.202 183.43 ms AS133775 China, Fujian, Xiamen, ChinaTelecom 17 * 18 * 19 117.28.254.129 188.54 ms AS4809 China, Fujian, Xiamen, ChinaTelecom [Info] 测试路由 到 厦门电信CN2 完成 ! [Info] 测试路由 到 浙江杭州联通 中 ... traceroute to 101.71.241.238 (101.71.241.238), 30 hops max, 32 byte packets 1 _gateway (10.0.62.1) 1.39 ms * LAN Address 2 154.12.36.254 1.95 ms AS35251 United States, California, Los Angeles, cogentco.com 3 23.224.21.76 0.60 ms AS40065 United States, California, Los Angeles, ceranetworks.com 4 * 5 * 6 * 7 23.225.225.65 13.56 ms AS40065 United States, California, Los Angeles, ceranetworks.com 8 219.158.116.245 157.90 ms AS4837 China, Shanghai, ChinaUnicom 9 219.158.8.189 161.91 ms AS4837 China, Shanghai, ChinaUnicom 10 219.158.7.125 167.81 ms AS4837 China, Shanghai, ChinaUnicom 11 219.158.106.122 167.61 ms AS4837 China, Zhejiang, Hangzhou, ChinaUnicom 12 * 13 * 14 * 15 * 16 * 17 * 18 * 19 * 20 * 21 * 22 * 23 * 24 * 25 * 26 * 27 * 28 * 29 * 30 * [Info] 测试路由 到 浙江杭州联通 完成 ! [Info] 测试路由 到 浙江杭州移动 中 ... traceroute to 112.17.0.106 (112.17.0.106), 30 hops max, 32 byte packets 1 _gateway (10.0.62.1) 1.47 ms * LAN Address 2 154.12.36.254 1.67 ms AS35251 United States, California, Los Angeles, cogentco.com 3 * 4 * 5 * 6 * 7 23.225.225.65 10.11 ms AS40065 United States, California, Los Angeles, ceranetworks.com 8 219.158.97.181 165.50 ms AS4837 China, Shanghai, ChinaUnicom 9 219.158.8.173 167.05 ms AS4837 China, Shanghai, ChinaUnicom 10 219.158.7.133 162.60 ms AS4837 China, Shanghai, ChinaUnicom 11 219.158.15.206 168.90 ms AS4837 China, Zhejiang, Hangzhou, ChinaUnicom 12 * 13 * 14 221.183.95.125 267.68 ms AS9808 China, Zhejiang, Hangzhou, ChinaMobile 15 * 16 * 17 * 18 * 19 * 20 * 21 * 22 * 23 * 24 * 25 * 26 * 27 * 28 * 29 * 30 * [Info] 测试路由 到 浙江杭州移动 完成 ! [Info] 测试路由 到 北京教育网 中 ... traceroute to 202.205.6.30 (202.205.6.30), 30 hops max, 32 byte packets 1 _gateway (10.0.62.1) 0.38 ms * LAN Address 2 154.12.36.254 2.01 ms AS35251 United States, California, Los Angeles, cogentco.com 3 23.224.21.76 0.65 ms AS40065 United States, California, Los Angeles, ceranetworks.com 4 * 5 * 6 * 7 23.225.225.65 17.42 ms AS40065 United States, California, Los Angeles, ceranetworks.com 8 219.158.6.5 167.87 ms AS4837 China, Shanghai, ChinaUnicom 9 219.158.6.157 175.60 ms AS4837 China, Shanghai, ChinaUnicom 10 * 11 219.158.9.98 169.65 ms AS4837 China, Shanghai, ChinaUnicom 12 219.158.44.86 181.19 ms AS4837 China, Shanghai, ChinaUnicom 13 101.4.118.41 174.10 ms AS4538 China, Shanghai, CHINAEDU 14 101.4.117.30 174.11 ms AS4538 China, Beijing, CHINAEDU 15 101.4.116.118 174.22 ms AS4538 China, Beijing, CHINAEDU 16 101.4.112.69 190.22 ms AS4538 China, Beijing, CHINAEDU 17 101.4.113.110 173.25 ms AS4538 China, Beijing, CHINAEDU 18 219.224.102.230 174.31 ms AS4538 China, Beijing, CHINAEDU 19 * 20 * 21 * 22 * 23 * 24 * 25 * 26 101.4.130.53 175.02 ms AS4538 China, Beijing, CHINAEDU 27 * 28 * 29 * 30 * [Info] 测试路由 到 北京教育网 完成 ! [Info] 四网路由快速测试 已完成 !
一键检测VPS回程国内三网路由

流媒体平台及游戏区域限制测试

TikTok检测

fast.com实测

油管实测
网络测试
- 洛杉矶9929:154.12.53.1
- 洛杉矶4387:154.12.36.1






















