我们在购买境外VPS的时候,经常听到163线路,4837线路等介绍,之前国外主机测评分享过一篇关于中国三大运营商的境外线路简析,详情查看:中国联通169网 AS4837/联通A网 AS9929/联通国际 CU Premium AS10099/CU VIP 等线路介绍和判断方法,相信大家已经对三大运营商的出国骨干网有一定了解,那么到达响应国家或地区之后,又走向什么运营商呢?它们的质量都怎么样呢?本文们先以中美链路开篇,接下来可能还会有中欧/中日/陆港等链路分析。

中国电信
电信是平行架构骨干网,北京/上海/广州三大汇聚在出国时平衡负载,就近出国。
电信(163网)作为一个比较强势的运营商,对境外互联几乎全部不需要购买其他运营商的transit,目前仅存的transit是在北美的level3。
163直连
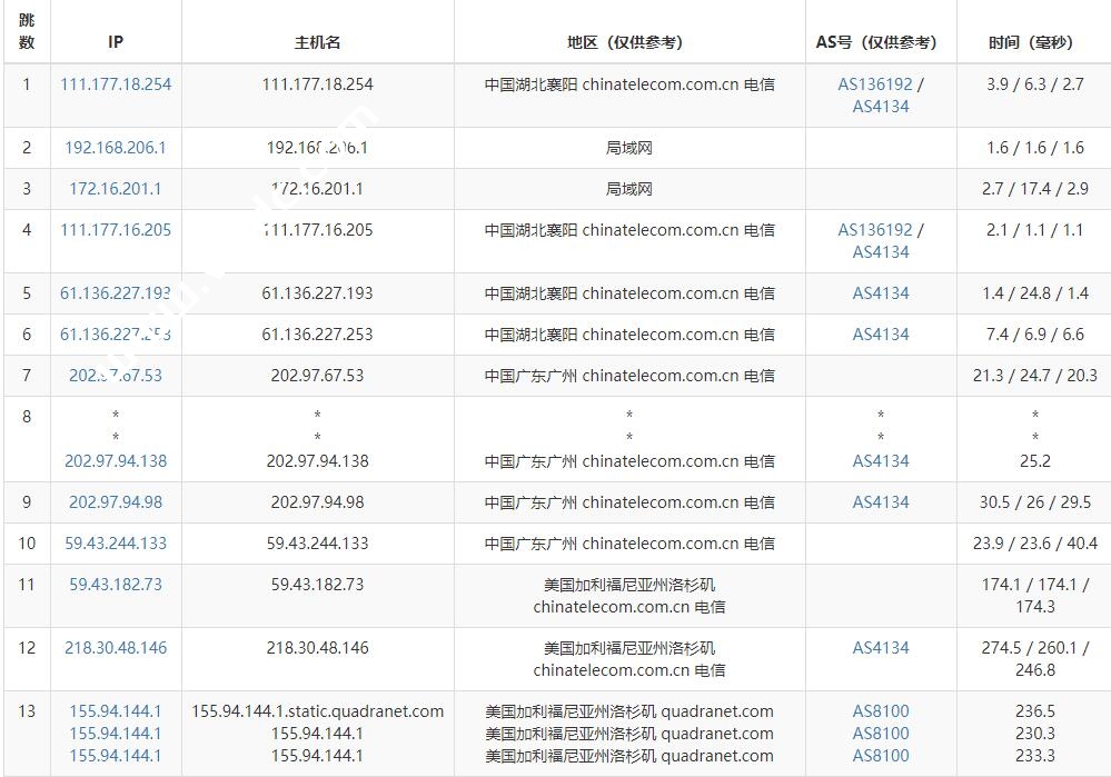
先来说说最简单最普通的北美163直连,电信163在北美的POP点在美国西部,集中在洛杉矶和圣何塞,承载光缆是TPE(高速高优先级)和NCP(大容量低优先级),境外数据中心如果要接入电信的163网,可以向电信购买transit,也可以像CF这样白嫖免费PEER,如下就是一条很普通的北美163直连线路的去程路由。

对于该线路,稳定性全天是基本可以保证的,但到夜间由于163汇聚负载过高,境外会被QOS,所以晚上丢包是比较恐怖的。
CN2 GT/GIA
为了缓解163网的负载,经工信部批准,中国电信建设了ChinaNet 的下一代承载网络,也就是CN2骨干网。CN2骨干网在建设初期,购买了诸如NTT、PCCW在内的很多transit,保证自身到境外优秀的互联性。CN2面向旗舰用户,在境内直接接入的话要花很大一笔银子,所以我们通常说的CN2网都是境外商家主动接入CN2网,上发路由表允许电信163网并入CN2网的情况。
这种情况分为大体两种,购买CN2 GT业务或者CN2 GIA业务。
CN2 GT业务价格低廉,(仅存在于北美,而且以及停止售卖!),没有单独的国际出口,境内流量在北京/上海/广州汇入CN2网,而且C段很大程度还是163的,对于解决163网卡顿的作用杯水车薪,意义不是很大。如下就是一条北美CN2 GT的去程路由:

CN2 GIA业务价格高昂,有单独的国际出口,境内流量去程在有CN2接入点的省份(如四川省,江苏省,湖北省等)会在省会网络并入CN2网,在没有CN2接入点的省份,会在北上广C段之前并入CN2网,回程大多直接进入城域网。如下就是北美CN2 GIA的去程路由:

对于这两种链路,CN2 GT个人感觉大可不必,因为电信访问境外慢的根本原因大部分都在于163本身C-I汇聚容量不足,而GT业务并不能解决这个问题。
对于GIA链路,,除了贵之外,没什么不好的。。。
Cogent
然后来说说全球最大的两个T1运营商(cogent和he)之一的cogent。cogent作为很廉价,全球数据中心连通性很好的运营商,它自身网流量也是十分大的,又由于其廉价,全球几乎所有运营商都将其作为基础运营商来接入,再由于我国现状的限制,cogent是无法在大陆地区建立POP的,所以cogent要想与中国大陆的数据中心有比较好的连通性,就必须向中国数据中心的基础运营商建立paid peer,大陆的数据中心绝大多数都是以电信163作为专用出口的,所以cogent与电信的peer容量还是比较大的,目前在北美的互联点有洛杉矶和圣何塞,如下就是电信-北美cogent的去程路由:

在质量方面,cogent作为很廉价的运营商,内网质量不会很好,跨网丢包也比较高,再加上163自身的QOS,所以cogent线路在夜间的体验还是很差的(尽管cogent到电信的容量足够)。
He
he作为全球另一大T1运营商,基本情况是与cogent类似的,he和电信的互联点也是在洛杉矶和圣何塞,但互联容量相比cogent来说是小得多,所以不难猜想。。。he和电信的互联相比cogent来说要炸的更厉害一点。。。如下就是电信-he的去程路由:

对于he到电信的质量。。可以基本和cogent持平了。。甚至夜间炸的更厉害一点,没有什么意思,好在给电信切到he的境外主机商还是比较好的,宁愿用cogent也不用he。。。
NTT
NTT是一个亚洲的运营商,运营公司是在日本,不过由于其与电信在北美也有互联点,所以这里拿到北美也提一下。NTT和电信在北美的互联也是免费PEER,互联点在洛杉矶,容量不是很大的样子。。。不过承载的业务也比较少啦。。。目前看到经常走ntt的基本只有colocrossing和choopa的部分地域。一下是电信-北美NTT的去程路由:

对于这条线路的质量,其实北美这几个免费PEER的质量都差不多,NTT算是比cogent和he稍好一点的。。。
GTT
北美GTT是联通经常走的路线,对于电信来说,它的存在感也是比较低的,仍然是免费PEER,质量平平,互联点在圣何塞,目前看到经常走gtt的基本只有colocrossing和choopa的部分地域。以下是电信-GTT的去程路由:

对于北美GTT,质量参考北美NTT就好了,,半斤八两。
Level3
Level3是目前电信的唯一一个transit互联了,电信出钱靠Level3承载部分互联业务,互联点在洛杉矶。不过目前这条线路也并不常用了,只在北美做部分备用和冗余,还是只看到了choopa部分地域走了Level3.(说句题外话,电信在欧洲CF走的那部分Level3并不是电信购买的transit,而是CF买的。)以下是电信-Level3的去程路由:

一般认为transit互联的质量是比免费PEER好一点的,但并没有体现在Level3上,还是和其他免费PEER基本持平。。。
中国联通
联通骨干网的架构是非平行的,在出国方面北京/上海/广州各司其职,出国链路相对固定,所以对外走不同汇聚的连接质量也是千差万别的。
联通的地位和电信基本持平,但上联的transit比电信要多一点。
169直连
还是先来说说最简单最普通的169直连线路,目前有北京-洛杉矶,北京-圣何塞,上海-圣何塞,广州-洛杉矶的链路,承载光缆只有TPE(NCP接了,但联通一直没有启用)。目前(2021.5.5)根据三个汇聚的网容量和负载来看出口质量是上海>北京>广州,更有近期爆火的”CUVIP”线路,实际正是上海-圣何塞这段负载比较轻的169链路。由于169直连北美的质量千差万别,价格也不尽相同,相比电信163要略贵,所以北美接入的主机商相对较少,如下就是一条北京-洛杉矶的169去程路由:

对于广州-洛杉矶的链路,经历了去年一整年的断网,这条链路已经奄奄一息了。。夜间延迟爆炸,丢包起飞是常事(当前有好转)
对于北京-洛杉矶的链路,目前比电信163的质量稍高,而且夜间QOS很轻微,属于勉强可用的链路。
对于上海-圣何塞的链路,也是目前联通169到北美唯一正常的链路,正在经受各种垃圾云的折磨。。。。
CUII
本身这张网是没什么可讲的,但自从北美CN2GIA商品变少之后,各大线路商就开始另辟蹊径了,连CUII这把老骨头都不放过。。。CUII就是原网通自建的AS9929网,合并重组后成为联通的政企工业网,由于常年的不升级,这张网的容量比较小,仅剩的优势只是负载轻而已,受到了部分主机商的喜爱,如下就是一条北美联通9929的去程路由,国际段是由CUG(10099)承载的:

得益于CUII的低负载,目前大概还可以与CN2GIA战一战,不过嘛。。。CUII的价格可是并不比CN2GIA便宜多少23333。
cogent
前面说过cogent和电信有很大的互联容量,但联通并没有,因为大陆数据中心绝大部分是以电信163为专用出口的,所以联通到cogent的容量比较小。再加上联通自身对cogent的依赖性比较大,属于一个万人骑的情况。cogent有北京-洛杉矶和上海-圣何塞的链路,分别承载不同的业务。一般来看质量是上海-圣何塞>北京-洛杉矶,如下就是一条上海-圣何塞cogent的去程路由:

对于质量的评价:珍爱生命,远离cogent。。。。
He
相比cogent来说,联通到he的质量还算比较不错的,北美主机商使用这条链路的并不多,he和联通的互联点是北京-洛杉矶,本身是质量平平的一条线罢了。。下面是一条北京-he的去程路由:

he对于联通来说质量比cogent稍高一点,属于基本可用的那种,丢包并不高,但走he的主机商个人很少见到。。。
GTT
联通走GTT的链路可谓是太多了(又是万人骑的一条线路,但相比cogent强多了),GTT到联通的链路是上海-圣何塞,广州-洛杉矶,但上海不常用,仅在去欧洲的部分链路中见到过。如下是一条广州-GTT的去程路由:

受到去年广州联通-洛杉矶链路故障影响,这条链路也基本稀烂了。。现在TPES4修复完成之后情况有所好转,但由于GTT是万人骑,所以也并不会有多好的表现。
Verizon
联通和Verizon的关系比较不一般,在联通比较弱势的时候,大部分依赖Verizon,当联通强势之后,就基本把Verizon拔掉了,现在就基本很少见联通-Verizon的线路。曾经verizon的网是给9929使用的,质量尚可,而且以前北美992的很多互联点是与169共用的,但自从2020年开始联通对9929网大改造,彻底分离了北美的互联点,169-Verizon的质量就下降了。Verizon的互联链路是北京-洛杉矶和广州-洛杉矶,平衡负载。下面就是一条北京-Verizon的去程路由:

对于这条链路的质量,相比gtt之类的peer好一点,但已经基本上没有路由会这样走了。
Comcast
Comcast作为在北美都饱受吐槽的运营商,其互联质量也可见不平凡(网内也不咋地),comcast和联通的互联点是广州-洛杉矶,目前仅见于choopa的芝加哥机房(路由链比cogent还离谱),以下是广州-comcast的去程路由:

对于质量不想多说。。宁愿用cogent也不用这个。。。。
Zayo
联通-zayo的链路在北美本土并不常见,大多都顺延至亚洲了,zayo到联通也是一个免费的互联而已,使用链路是北京-圣何塞,目前仅见到在gear host的免费主机的服务器。以下是北京-zayo的去程链路:

至于质量,个人使用起来和he基本持平吧,也是一般般的(北美这几个免费peer都差不多)
中国移动
中国移动的固网发展的比较晚,在国际上的地位还是比较低的(而且总体质量比较差),特别是在亚太区域接了不少弱势运营商的transit(一定程度上也成了移动的优势,因为到亚太能走到很多电联走不到的链路)。不过在北美而言,移动可谓十分惨,CMI到北美的容量就不多,还只能走NCP海缆,上联的免费peer还少。
移动也是平行架构的,出国方面和电信类似,但南北方有部分路由有差异,北方要差一点。
CMI直连
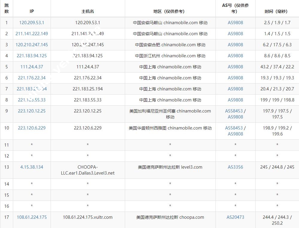
这可以说是北美大多数主机商对移动做出的最大优化了(再往上只能去电信或联通),CMI在北美的互联POP是在洛杉矶和圣何塞,上面说到过CMI到北美的质量比较差,这也是移动访问国际总体质量不行的原因之一了。。。如下是一条CMNET-CMI-洛杉矶的去程路由:

质量方面,总体比电信163略差,但夜间爆炸时间比电信炸的轻点。。。
cogent
cogent在北美基本全都是万人骑的线路,到移动也是这样,基本上北美没接移动的都从cogent走,互联容量还不足。cogent和移动的互联点在洛杉矶和圣何塞,如下是一条CMNET-CMI-cogent的链路:

对于cogent的质量。。不需多说,珍爱生命远离就好。。。。。
He
he在北美移动走的并不多,与移动的互联点在洛杉矶和圣何塞,同样作为和cogent平起平坐的大T1,he显然也是移动“高攀不起”的,互联容量也不是很足,如下是一条CMNET-CMI-he的去程路由:

he很多情况下到移动的质量还不如cogent。。。别看延迟比较低,丢包是很恐怖的。
Level3
移动走level3的路径也是比较多的,互联点在圣何塞,到美国中部和东部好多都要走level3,而level3本身也是一个体量很大的运营商,也就是免费peer的水平,如下是一条CMNET-CMI-level3的去程路由:

对于质量。。算是移动到北美质量还算高点的(相比he和cogent来说)
zayo
移动-zayo的链路在北美本土并不常见,大多都顺延至亚洲了,zayo到移动也是一个免费的互联而已,使用互联点是在洛杉矶,目前仅见到在gear host的免费主机的服务器。以下是CMNET-CMI-zayo的去程链路:

对于zayo的质量,,对移动来说和cogent差不多。。。尽量别碰。
小结
三网对于北美的网络已经基本进入瓶颈期了,没有了什么发展前景,各个运营商都已经不再敢向北美扩容,诸如CN2GIA这种高端线路还纷纷停售,且北美大多都是以各T1主导的免费互联,质量比较一般。
上面从三网对北美的链路也可以看到,除了移动之外,电信和联通对北美的依赖性还是比较高的,因为在欧洲没有接什么运营商,在亚太的地位又比较高,也没什么可走的链路,所以在北美的链路负载就比较高了。。不过移动由于CMI到北美容量小,,也没什么优势。
搬瓦工推荐方案
| 方案 | 内存 | CPU | 硬盘 | 流量/月 | 带宽 | 机房 | 价格 | 购买 |
|---|---|---|---|---|---|---|---|---|
| CN2 (最便宜) |
1GB | 1核 | 20GB | 1TB | 1Gbps | DC3 CN2 DC8 ZNET |
$49.99/年 | 直达 |
| CN2 | 2GB | 1核 | 40GB | 2TB | 1Gbps | $52.99/半年 $99.99/年 |
直达 | |
| CN2 GIA-E (最推荐) |
1GB | 2核 | 20GB | 1TB | 2.5Gbps | DC6 CN2 GIA-E DC9 CN2 GIA 日本软银 JPOS_1 荷兰 EUNL_9 |
$49.99/季度 $169.99/年 |
直达 |
| CN2 GIA-E | 2GB | 3核 | 40GB | 2TB | 2.5Gbps | $89.99/季度 $299.99/年 |
直达 | |
| HK | 2GB | 2核 | 40GB | 0.5TB | 1Gbps | 中国香港 CN2 GIA | $89.99/月 $899.99/年 |
直达 |
| HK | 4GB | 4核 | 80GB | 1TB | 1Gbps | $155.99/月 $1559.99/年 |
直达 | |
| TOKYO | 2GB | 2核 | 40GB | 0.5TB | 1.2Gbps | 日本东京 CN2 GIA | $89.99/月 $899.99/年 |
直达 |
| TOKYO | 4GB | 4核 | 80GB | 1TB | 1.2Gbps | $155.99/月 $1559.99/年 |
直达 | |
| 搬瓦工优惠码:BWH3HYATVBJW | 2022年最新搬瓦工VPS购买图文教程 | |||||||




















