官方网站

Virtono的美国VPS洛杉矶机房支持多个IP,最多支持64个IP,对于需要美国站群VPS的朋友也可以考虑。下面我们将从Ping延迟、三网路由线路、价格套餐几个方面对Virtono美国VPS的洛杉矶机房进行测试。
我们先看看这个美国VPS我本地Ping的情况,如下所示:

可以看到本地Ping延迟在200ms左右,网络稳定还是不错的,基本没有丢包的情况。
然后我们看看三网全国Ping的情况,如下所示:

可以看到三网全国Ping的平均延迟在180ms左右,企业电信和联通网络延迟差不多,在180ms左右,移动网络延迟稍微大点在236ms左右。
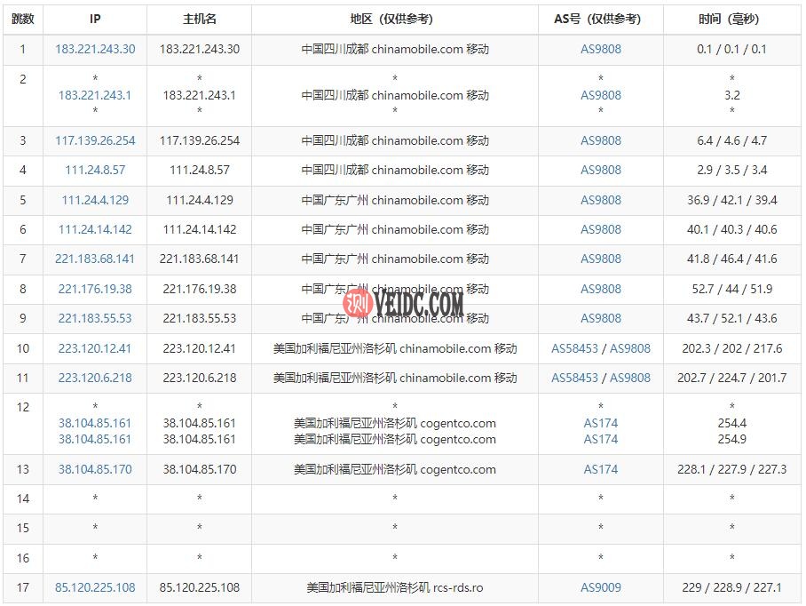
接下来我们再看看三网的路由线路。
电信路由:

联通路由:

移动路由:

可以看到三网路由都是从广州网口出去,然后直连美国洛杉矶机房的,从路由上来看还是不错的。
接下来我们看看Virtono这款美国VPS的价格套餐,如下所示:
| CPU | 内存 | SSD | 流量 | 带宽 | 价格 | 购买 |
| 1核 | 2G | 50G | 3T/月 | 1G | €8.95/月 | 直达 |
| 2核 | 4G | 80G | 4T/月 | 1G | €17.95/月 | 直达 |
| 4核 | 8G | 160G | 8T/月 | 1G | €35.95/月 | 直达 |
特价年付套餐
| CPU | 内存 | SSD | 流量 | 带宽 | 价格 | 购买 |
| 1核 | 1G | 30G | 2T/月 | 1G | €29.95/年 | 直达 |
可以看到最低配置价格套餐是需要年付的,不过价格也还算比较便宜了,如果有需要我是比较建议选择年付套餐的,性价比不错。
这里简单说一下Virtono 美国VPS的购买入口,不然很多新手朋友可能不知道如何购买。先通过Virtono优惠链接进入官网,然后选择“Self-Managed Servers”菜单下的“Cloud VPS”,然后选择自己需要的套餐就可以了,如下所示:

然后后面的配置如果你是需要选择美国VPS的洛杉矶机房,只需要在 “Region” 选择 “Los Angeles, California – USA” 就可以了,如下所示:

其他的只要根据需要选择适合自己的配置就可以了。
以上就是关于Virtono美国VPS洛杉矶机房的相关测评介绍,整体来说网络表现还是不错的,按年付款性价比也比较高,支持支付宝付款购买方便,同时支持Linux和Windows操作系统选择灵活。当然如果你需要更好的美国VPS可以参考Hostwinds美国VPS,速度各方面会更好一些,具体看个人需求。




















