RAKsmart作为一个运作了接近20年的老牌服务商,虽然美国服务器是其主销畅销机型,但是RAKsmart的日本服务器销量也是很热门的,不少人问raksmart日本服务器怎么样。日本服务器是继香港服务器之后又一个理想选择,其主要优势就是访问速度快、稳定性高和价格便宜等。RAKsmart的日本服务器租用,有大陆优化和精品网两个线路,那么RAKsmart日本服务器怎么样?RAKsmart日本服务器E5-2630L是RAKsmart家明星方案,本文将分享此次测评相关数据,
官方网站

优惠码
九折优惠码:RAKBL9,活动产品和此优惠码可叠加使用,秒杀和VPS产品除外。
活动时间:美国西岸圣何塞时间 11/01/2021~11/30/2021
RAKsmart日本服务器配置
| 方案 | 内存 | 硬盘 | 带宽/流量 | IP | 价格/月 | 官网直达 |
| E3-1230 | 16GB | 1T HDD | 50M/不限 | 3个 | $107.69 | 优惠购买 |
| E5-2630L | 16GB | 1T HDD | 50M/不限 | 3个 | $139.00 | 优惠购买 |
| E5-2680 | 16GB | 1T HDD | 50M/不限 | 3个 | $159.00 | 优惠购买 |
| E5-2630L*2 | 32GB | 1T HDD | 50M/不限 | 3个 | $169.00 | 优惠购买 |
| E5-2680*2 | 32GB | 1T HDD | 50M/不限 | 3个 | $249.00 | 优惠购买 |
RAKsmart日本服务器测评
下面,国外主机测评通过几个维度对RAKsmart日本服务器测评,看看速度和性能到底如何?这里我们的测试时间是晚上,晚高峰期间测试的比较有说服力。
1、Ping延迟测试
| 区域 | 最快/最慢 | 平均 |
|---|---|---|
| 全网 | 日本东京 1.7ms/南非约翰内斯堡(Azure) 422.8ms | 162.0ms |
| 移动 | 广东茂名(移动) 70.4ms/江苏宿迁(UOVZ) 182.2ms | 130.7ms |
| 联通 | 江苏徐州(联通) 96.2ms/黑龙江哈尔滨(天翼云) 152.1ms | 125.4ms |
| 电信 | 福建福州(天翼云) 62.9ms/广东茂名(电信) 264.7ms | 125.5ms |
| 华南 | 广东广州(滴滴云二区) 60.8ms / 广东茂名(电信) 264.7ms | 101.5ms |
| 华北 | 北京(青云3b) 57.2ms / 河北石家庄(天翼云) 152.3ms | 98.0ms |
| 华东 | 上海(bgp) 36.2ms / 浙江杭州(电信) 262.1ms | 107.5ms |
| 华中 | 湖南长沙(天翼云) 75.3ms / 河南许昌(ptgidc.com) 135.5ms | 109.3ms |
| 东北 | 吉林长春(铁通) 110.6ms / 吉林长春(天翼云) 164.9ms | 136.2ms |
| 西北 | 宁夏中卫(天翼云) 94.3ms / 甘肃兰州(天翼云) 157.9ms | 125.4ms |
| 西南 | 贵州贵阳(华为云) 63.9ms / 四川成都(阿里云) 252.3ms | 126.6ms |
| 港澳台 | 香港 50.6ms / 香港 162.8ms | 73.8ms |
| 亚洲 | 日本东京 1.7ms/哈萨克斯坦阿拉木图 344.6ms | 115.3ms |
| 欧洲 | 俄罗斯伯力 26.5ms/乌克兰基辅 332.6ms | 270.6ms |
| 非洲 | 埃及开罗 300.8ms/南非约翰内斯堡(Azure) 422.8ms | 361.1ms |
| 北美洲 | 美国洛杉矶(hostKVM) 103.6ms/加拿大温哥华 281.6ms | 163.7ms |
| 南美洲 | 巴西圣保罗(GCP) 275.4ms/巴西圣保罗(softlayer) 363.1ms | 308.1ms |
| 大洋洲 | 澳大利亚墨尔本(softlayer) 129.9ms/澳大利亚阿德莱德 235.9ms | 174.3ms |
这里我们可以看到RAKsmart日本服务器精品网络PING延迟速度还是比较好的。
2、路由去程测试
这里我们随机抽样电信、联通、移动 三个节点看看去程测试。
电信去程

联通去程

移动去程

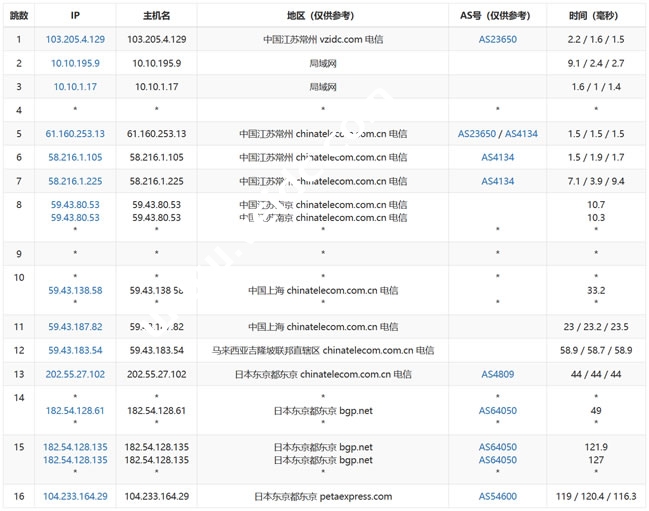
3、回程路由测试
电信回程

联通回程

移动回程

可以看到RAKsmart日本精品网络回程线路中电信和移动是CN2。
4、配置及IO读写

5、随机三节点下载速度

小结
RAKsmart提供的日本独立服务器精品网络电信去程和回程都是CN2优化线路。如果我们需要日本服务器的话,这款日本服务器还是比较适合的。





















