racknerd怎么样,racknerd好不好,日前RackNerd新上线高性能的VPS机器了,配置采用AMD Ryzen处理器、NVMe高速读写速度硬盘、DDR高性能内存,这种硬件配置用来建站或是跑项目都非常不错的,目前只有纽约和芝加哥两个机房可以选择,随着使用AMD Ryzen VPS用户的越来越多,RackNerd本周将陆续开通其它数据中心的AMD Ryzen VPS方案。那么,作为RackNerd主机商接下来的主打产品方案,RackNerd AMD Ryzen VPS性能究竟怎么样?为了一探究竟,国外主机测评来做个简单评测。
RackNerd官网
[qgg_yellow]点击直达RackNerd官方网站[/qgg_yellow]
AMD Ryzen高性能VPS
VPS特征:KVM虚拟架构,采用AMD Ryzen+NVMe高速读写速度硬盘,机房可选纽约和芝加哥。
| CPU | 内存 | NVMe硬盘 | 流量 | 带宽 | IPv4 | 价格 | 购买 |
| 1核 | 512 M | 10 GB | 2 TB | 1Gbps | 1个 | $14.18/年 | 链接 |
| 1核 | 1 G | 15 GB | 3 TB | 1Gbps | 1个 | $21.49/年 | 链接 |
| 2核 | 2 G | 35 GB | 4 TB | 1Gbps | 1个 | $35.49/年 | 链接 |
| 2核 | 3 G | 45 GB | 6 TB | 1Gbps | 1个 | $51.33/年 | 链接 |
AMD Ryzen测评
测试方案配置:2GB内存,2核心内容,45GB SSD硬盘,5TB流量,1Gbps共享网络。
一、CPU、I/O读写测试
从晚间测试结果数据来看,硬盘I/O读写还是比较给力的,基本能够保持在500MB/s以上,白天测试的话数据可能会更好一些。

CPU内存线程测试,DDR4内存和NVMe SSD硬盘性能确实还不错:

全球下载速度测试,整体来看还可以吧:

二、Ping值测试
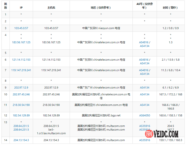
测试IP地址:204.13.154.3(洛杉矶Multcom(DC02)机房)
从全国整体的ping值测试结果来看,其速度还是比较快的,平均152ms,其中电信ping值好到爆。当然,这个是白天的测试结果,晚上的话电信相对会慢一些。

三、Tracert路由测试
北京移动去程路由测试:

江苏联通去程路由测试:

广东电信去程路由测试:

上海联通回程路由测试:

广州移动回程路由测试:

北京电信回程路由测试:

从以上测试结果来看,三网基本上都是直连线路,移动和联通线路相对稳定一些,而电信线路白天速度较快,晚上丢包率稍微高一些。
四、UnixBench跑分测试
这样的配置有这样的分数,不能说有多好,但起码不差。

六、总结
以上就是RackNerd AMD Ryzen VPS整体性能的评测数据,测试结果仅供参考,有条件的朋友可以自行进行测试。
从测试给出的结果可以看出,RackNerd AMD Ryzen VPS方案由于采用较高性能核心CPU、DDR4内存以及 NVMe SSD存储硬盘,所以整体的硬件配置数据还是比较好看。
当然,在访问速度方面,电信线路白天访问占据绝对优势,晚上抖动率相对较高,而移动和联通基本上比较稳定性,速度也勉强说得过去。而想要访问速度更快,估计只能上CN2线路。





















