香港VPS有没有大带宽的?很多朋友都在问这个问题。因为香港VPS普通带宽比较小,一般多的也就10Mbps,独立服务器有100-110M混合带宽的。所以很多需要大带宽香港VPS的朋友就没有办法了,今天小编给大家介绍一下搬瓦工超大带宽的香港VPS。搬瓦工想必很多朋友都比较的熟悉,很多朋友主要是选择的搬瓦工美国VPS,的确搬瓦工的香港VPS上市不久,很多人还不太了解,这里我们就给大家测评下搬瓦工香港VPS。
搬瓦工最新官网
[qgg_yellow]点击直达搬瓦工最新官方网站[/qgg_yellow]
搬瓦工最新优惠码
优惠码:BWH3HYATVBJW,节约6.58%,全场通用!
搬瓦工香港VPS测评
搬瓦工香港VPS是拥有1Gbps的带宽的,这个在香港VPS中绝对是非常少见的,基本上目前市面上是我见到的唯一一家,并且还有CN2 GIA线路,所以速度绝对是非常快的,不管怎么样,我们还是先测试下。
先看下ping的效果怎么样,如下所示:
可以看到延迟非常的低,在40ms左右,如果你是东南沿海地区,特别是广东等地,这个延迟就会更低了。而且可以看到网络非常的稳,基本都没有丢包的情况。
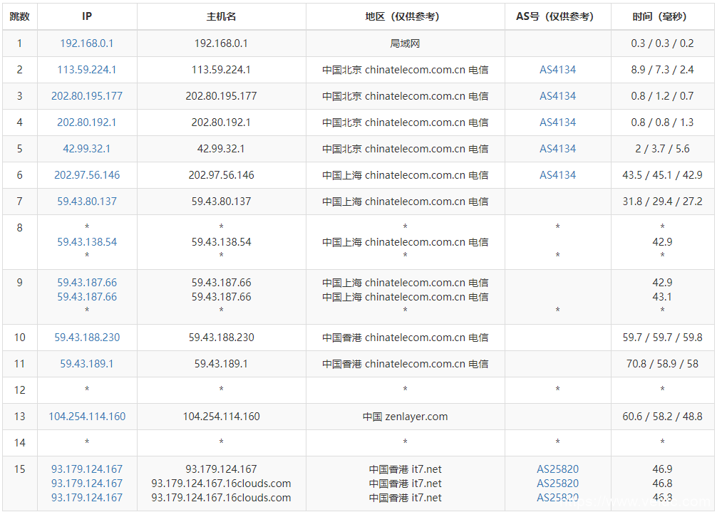
然后我们再看看路由线路,如下所示:
从上看到是直连的,并且走的是59.43的CN2线路。然后我们再看看,服务器性能及下载、上传速度怎么样,如下所示:
磁盘的I/O在600M/秒左右,可以说是相当的优秀了,上传和下载速度,在全国各地来看都是相当不错的,几乎可以肯定是我们测评过的香港VPS表现最好的。
所以综合起来看,搬瓦工香港VPS可以说是相当优秀的,几乎可以肯定是目前市面上最好的香港VPS。
但是价格怎么样呢,这么说吧,不便宜的,毕竟带宽这么大,具体套餐如下所示:
搬瓦工 CN2 GIA-E 商务套餐推荐
目前仍然可以购买的 CN2 GIA-E 套餐是非常超值的,购买之后可以使用 DC6 CN2 GIA-E、DC9 CN2 GIA、日本软银、DC3 CN2、DC8 ZNET 等多个机房。
目前价格是从 $169.99 一年起步的,这个价格也是区分的很清楚了,便宜的 CN2 套餐仅需 $49.99 一年,贵一点的香港套餐则需要 $899.99,预算很好区分,大家也很容易选择出自己想要的套餐。一般来说不知道买什么的话还是建议购买 CN2 GIA-E 电子商务套餐。
| 方案 | 内存 | CPU | 硬盘 | 流量/月 | 带宽 | 机房 | 价格 | 购买 |
|---|---|---|---|---|---|---|---|---|
| CN2 GIA-E | 1GB | 2核 | 20GB | 1TB | 2.5Gbps | DC6 CN2 GIA-E DC9 CN2 GIA 日本软银 JPOS_1 DC3 CN2 DC8 ZNET DC2 QNET DC4 MCOM 美国弗里蒙特 美国新泽西 美国纽约 荷兰阿姆斯特丹 |
$49.99/季度 $169.99/年 |
购买 |
| CN2 GIA-E | 2GB | 3核 | 40GB | 2TB | 2.5Gbps | $89.99/季度 $299.99/年 |
购买 | |
| CN2 GIA-E | 4GB | 4核 | 80GB | 3TB | 2.5Gbps | $56.99/月 $549.99/年 |
购买 | |
| CN2 GIA-E | 8GB | 6核 | 160GB | 5TB | 5Gbps | $86.99/月 $879.99/年 |
购买 | |
| CN2 GIA-E | 16GB | 8核 | 320GB | 8TB | 5Gbps | $159.99/月 $1599.99/年 |
购买 | |
| CN2 GIA-E | 32GB | 10核 | 640GB | 10TB | 10Gbps | $289.99/月 $2759.99/年 |
购买 | |
| CN2 GIA-E | 64GB | 12核 | 1280GB | 12TB | 10Gbps | $549.99/月 $5399.99/年 |
购买 |
搬瓦工目前可购买所有套餐整理
| 方案 | 内存 | CPU | 硬盘 | 流量/月 | 带宽 | 机房 | 价格 | 购买 |
|---|---|---|---|---|---|---|---|---|
| CN2 常规方案 | ||||||||
| CN2 | 1GB | 1核 | 20GB | 1TB | 1Gbps | DC3 CN2 DC8 ZNET DC2 QNET DC4 MCOM 美国弗里蒙特 美国新泽西 美国纽约 荷兰阿姆斯特丹 |
$49.99/年 | 购买 |
| CN2 | 2GB | 1核 | 40GB | 2TB | 1Gbps | $52.99/半年 $99.99/年 |
购买 | |
| CN2 | 4GB | 2核 | 80GB | 3TB | 1Gbps | $59.99/季度 $199.99/年 |
购买 | |
| CN2 | 8GB | 2核 | 160GB | 5TB | 1Gbps | $39.99/月 $399.99/年 |
购买 | |
| CN2 | 16GB | 3核 | 320GB | 8TB | 1Gbps | $79.99/月 $799.99/年 |
购买 | |
| CN2 GIA-E 方案 | ||||||||
| CN2 GIA-E | 1GB | 2核 | 20GB | 1TB | 2.5Gbps | DC6 CN2 GIA-E DC9 CN2 GIA 日本软银 JPOS_1 DC3 CN2 DC8 ZNET DC2 QNET DC4 MCOM 美国弗里蒙特 美国新泽西 美国纽约 荷兰阿姆斯特丹 |
$49.99/季度 $169.99/年 |
购买 |
| CN2 GIA-E | 2GB | 3核 | 40GB | 2TB | 2.5Gbps | $89.99/季度 $299.99/年 |
购买 | |
| CN2 GIA-E | 4GB | 4核 | 80GB | 3TB | 2.5Gbps | $56.99/月 $549.99/年 |
购买 | |
| CN2 GIA-E | 8GB | 6核 | 160GB | 5TB | 5Gbps | $86.99/月 $879.99/年 |
购买 | |
| CN2 GIA-E | 16GB | 8核 | 320GB | 8TB | 5Gbps | $159.99/月 $1599.99/年 |
购买 | |
| CN2 GIA-E | 32GB | 10核 | 640GB | 10TB | 10Gbps | $289.99/月 $2759.99/年 |
购买 | |
| CN2 GIA-E | 64GB | 12核 | 1280GB | 12TB | 10Gbps | $549.99/月 $5399.99/年 |
购买 | |
| 香港 CN2 GIA 方案 | ||||||||
| HK | 2GB | 2核 | 40GB | 0.5TB | 1Gbps | 香港 CN2 GIA 香港 PCCW |
$89.99/月 $899.99/年 |
购买 |
| HK | 4GB | 4核 | 80GB | 1TB | 1Gbps | $155.99/月 $1559.99/年 |
购买 | |
| HK | 8GB | 6核 | 160GB | 2TB | 1Gbps | $299.99/月 $2999.99/年 |
购买 | |
| HK | 16GB | 8核 | 320GB | 4TB | 1Gbps | $589.99/月 $5899.99/年 |
购买 | |
| KVM 常规方案 | ||||||||
| KVM | 1GB | 2核 | 20GB | 1TB | 1Gbps | DC3 CN2 DC8 ZNET DC2 QNET DC4 MCOM 美国弗里蒙特 美国新泽西 美国纽约 荷兰阿姆斯特丹 (DC3 机房流量为 1/3) |
$49.99/年 | 购买 |
| KVM | 2GB | 3核 | 40GB | 2TB | 1Gbps | $52.99/半年 $99.99/年 |
购买 | |
| KVM | 4GB | 4核 | 80GB | 3TB | 1Gbps | $19.99/月 $199.99/年 |
购买 | |
| KVM | 8GB | 5核 | 160GB | 4TB | 1Gbps | $39.99/月 $399.99/年 |
购买 | |
| KVM | 16GB | 6核 | 320GB | 5TB | 1Gbps | $79.99/月 $799.99/年 |
购买 | |
| KVM | 24GB | 7核 | 480GB | 6TB | 1Gbps | $119.99/月 $1199.99/年 |
购买 | |























