HostDare,印度人运行的商家,成立于2014年,主营美国CN2 GIA、CN2 GT线路的KVM架构VPS产品,其中CN2 GIA位美国洛杉矶CERA机房、CN2 GT线路为洛杉矶QN机房,都是国内访问较为优质的美西数据中心。此商家在国人用户当中有较好的口碑,HostDare 商家目前有CN2 GIA和CN2 GT两个方案线路,但是前者是目前中美线路比较好的CN2优化直连线路,所以有些网友选择比较多。在这篇文章中,我们就介绍这个套餐。
官方网站
CN2 GIA方案展示
| CPU | 内存 | HDD | 带宽 | 流量 | 价格 | 购买 |
| 1核心 | 756MB | 35GB RAID10 | 50Mbps | 600GB | $49.99/年 | 点击直达 |
| 2核心 | 1.5GB | 75GB RAID10 | 60Mbps | 1000GB | $76.99/年 | 点击直达 |
| 3核心 | 4GB | 150GB RAID10 | 80Mbps | 1500GB | $112.99/半年 | 点击直达 |
| 4核心 | 8GB | 300GB RAID10 | 100Mbps | 2500GB | $45.99/月 | 点击直达 |
| 5核心 | 16GB | 600GB RAID10 | 100Mbps | 3500GB | $85.99/月 | 点击直达 |
机房测试IP
洛杉矶Cera机房(CN2 GIA)测试IP:185.186.146.8,http://185.186.146.8/100mb.bin
HostDare CN2 GIA评测
这里我们就测试手上已有的HostDare CN2 GIA性能。
1、PING速度延迟测试

2、主机配置信息

3、IO读写测试

4、去程路由测试

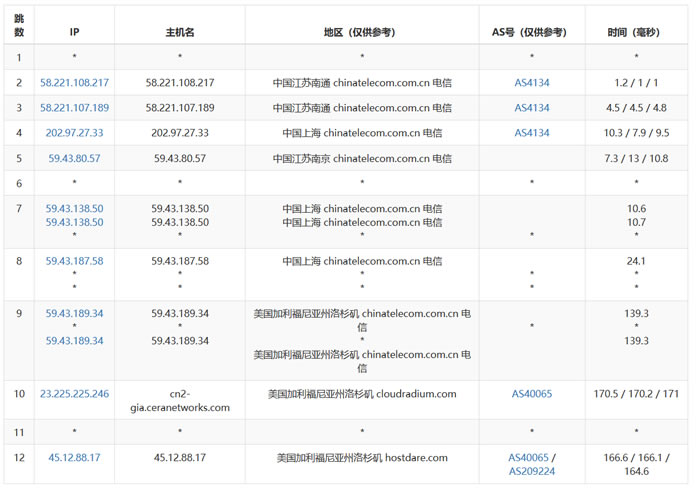
5、回程路由测试

6、随机下载上传测速

总结,HostDare 商家可以看到测试的电信线路去程 和回程都是CN2 优化线路。如果有需要这个商家的,还是可以选择,不过最低套餐必须年付方案,所以我们在购买之后不要乱用导致IP被封,这样会比较损失的。如果我们正规项目是没有多大问题。

















