
丽萨主机(LisaHost)美国住宅IP VPS 简单测评,原生家宽住宅IP,Netflix/Disney+/Hulu等原生解锁,TikTok/ChatGPT无障碍
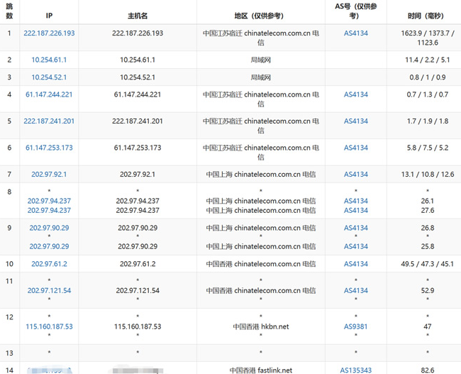
丽萨主机是一家成立于2017年的海外VPS提供商,总部位于香港,专注于原生IP、双ISP住宅IP和家宽静态IP资源,尤其在美国市场深耕多年。商家主打“真实家宽模拟”环境,深受需要纯净美国原生IP的用户青睐,如TikTok运营、跨境电商、银行...

丽萨主机是一家成立于2017年的海外VPS提供商,总部位于香港,专注于原生IP、双ISP住宅IP和家宽静态IP资源,尤其在美国市场深耕多年。商家主打“真实家宽模拟”环境,深受需要纯净美国原生IP的用户青睐,如TikTok运营、跨境电商、银行...

CloudCone 正式开启 Year-End VPS Sale 年终促销,洛杉矶机房超值 KVM VPS 限时特惠,最低年付仅 $9.99 起!配置为1核1GB内存、50GB HDD存储,SSD 缓存磁盘(性价比更高,读写速度快),机房位...

全系KVM架构,线路稳定,国人购买最多的商家!季付$49.99起

DMIT 洛杉矶 Premium CN2 GIA 线路的 T1 套餐 已全面升级至最新一代 AMD EPYC 9005(Turin) 平台,性能再度飞跃!当前可选AN5 · VOLUME 系列 主打超大流量额度,搭载 AMD EPYC 90...

HostUS 送上新年祝福,同时推出限时特价 KVM VPS 促销!包含1款超大硬盘存储VPS + 3款高性价比常规VPS,全线基于 KVM 虚拟化架构,性能稳定可靠。机房选择丰富,可选美国洛杉矶、达拉斯、亚特兰大、日本东京、新加坡、英国伦...

Hosteons 在2025年圣诞节期间推出限时8折一次性优惠活动,适用于 Budget VPS(美国/欧洲机房)以及 High Performance Ryzen VPS 系列产品,使用后最低年付仅需 16.8美元 起。 Hosteons...

SoftShellWeb 正在推出冬季特惠活动(Winter Special),涵盖美国洛杉矶、圣何塞、盐湖城、中国台湾以及荷兰阿姆斯特丹等多地机房的特价 VPS 主机方案,年付最低仅需 12.95 美元 起。其中洛杉矶和盐湖城机房提供 1...

DMIT圣诞钜惠于北京时间12月22日下午13:00(对应UTC 12月22日00:00)正式上线,美国洛杉矶 Premium 与 Eyeball 系列促销 VPS套餐强势登场,采用CN2 GIA / CMIN2 / AS9929 三网优化...

CUBECLOUD 圣诞特别活动已经开启,即日起至元旦,全场产品低至88折,最低配月付低至34元,可选HKG|香港 Lite PCCW+NTT 非大陆优化网络、HKG|香港 Pro 电信CN2+联通VIP+移动CMI 大陆优化网络、USA|...

很多朋友刚买搬瓦工 VPS时,发现默认系统是 CentOS 7(带 BBR 加速),但自己可能更喜欢 Debian、Ubuntu 或其他纯净版本。这时候就需要重装系统啦! 好消息是:搬瓦工重装系统非常简单,整个过程只需 3 个步骤,几分钟就...

DMIT 开启了2025年圣诞促销,洛杉矶高端 VPS 迎来年度最大优惠!从 2025年12月22日 00:00 UTC 起,LAX Pro、EB 及 T1 系列正价套餐享 循环折扣 + 账户信用返现 双重叠加福利,性能更强、性价比更高! ...

vps.mg(赤鱼网络)新增了新加坡节点,现在可选中国香港、日本东京和新加坡三个机房,商家是去年11月份左右成立的,已稳定运行一年多,其VPS基于KVM虚拟,最低配置月付$8.52起,现在有循环7折优惠,折后月付$5.96起,配置为2核2G...

VMISS正式开启了2025年圣诞+2026年元旦特别促销,全场最高享7折优惠,如香港国际线路VPS,月付仅需8元、独立服务器低至425元起,其它数据中心可适用于八折优惠,可选香港、韩国、日本、美国等机房,线路分为国际线路、大陆优化线路、三...

Evoxt是一家成立于2020年的马来西亚华人运营的VPS商家,总部位于吉隆坡,主打高频CPU(AMD EPYC/Ryzen,3.5GHz+,部分高达6GHz)、低价格、高性能KVM虚拟化。全球目前可选17个机房,其中马来西亚(Premiu...

FriendHosting 2025 年黑色星期五大促仍在进行中,官网首页和促销页面仍在突出显示 Black Friday 2025 优惠,将持续到2025 年 12 月 15 日。本次促销折扣高达4.5折,比去年的 50% 优惠更高。入门...

CloudCone 的圣诞节促销已正式开启!作为成立于 2017 年的老牌云主机提供商(隶属 Edge Centres,与 Multacom 同母公司),CloudCone 以 KVM 虚拟化架构为核心,主打性价比高的 VPS 和独立服务器...

Hosteons(成立于2018年5月,新加坡注册)是专注性价比 VPS 的老牌商家,主打 KVM 虚拟化、10Gbps 共享大带宽、无视 DMCA 投诉,适合建站、下载、流媒体、BT/PT 等场景。当前“Year End Sale”促销火...

CloudCone 2025 年 Cyber Monday 活动已经上线,提供三款超值 VPS 套餐,最低年付仅 $9.99,配置为1核1GB内存、50GB HDD存储,SSD缓存,1Gbps带宽月流量1TB ,机房为洛杉矶DC1,另外两款...

Lightlayer 黑五狂欢活动火热进行中! 国外 VPS 云服务器限时 5折优惠,低至 $12.49/年,美国服务器仅 $14/月,全年最低价!可选马尼拉、台湾、洛杉矶、香港、新加坡机房,网络带宽:大陆优化、国际线路、标准带宽可选,流量...

Sharktech 2025黑色星期五特惠来袭! 美国知名高防服务器厂商 Sharktech 推出限时独立服务器优惠,价格低至 $199/月,硬件配置为双路 Gold 662V、256GB 内存、2TB NVMe SSD,默认10Gbps ...

老牌稳定商家 ITLDC 的黑色星期五促销活动正式上线!今年的诚意依旧满满,折扣力度直接对标去年:✅ 全场通杀: 无论你选择哪个配置,半年付立享7.5折,年付更是直接5.5折(无需优惠码,结账自动减免)! ✅ 超高性价比: 折后最低配(1G...